單段式錘破設備也是我公司的生產破碎產品之一,主要用于建材行業的石料破碎,公路鐵路的建設,建房和其他應用石子的工業。單段錘式破碎機適用于破碎石灰石,中硬度石料,抗壓強度低于200MPa和含鈣量高于40%的石料。單段式錘破可以將采場的大塊礦石一次破碎到入磨需要的粒度,從而可以取代傳統的兩段破碎,簡化工藝流程、節約基建投資和生產費用。
單段式錘破工作原理
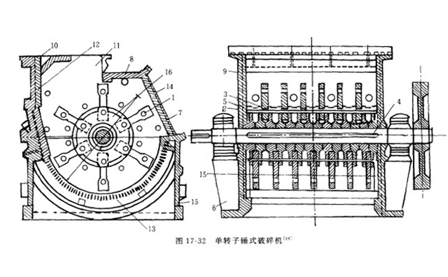
單段錘式破碎機的主要工作部件為帶有錘頭的轉子。該轉子部件由主軸、圓盤、銷軸和錘頭組成。在工作過程中,單段錘破配套電機帶動轉子在破碎腔內高速旋轉,物料自上部給料口給入機內,受高速運動的錘頭的打擊、沖擊、剪切、研磨作用而粉碎。在轉子下部,設有篩板、粉碎物料中小于篩孔尺寸的粒級 通過篩板排出,大于篩孔尺寸的粗粒級阻留在篩板上繼續受到破碎機錘頭的打擊和研磨, 后通過篩板排出機外。

單段錘式破碎機錘頭介紹
單段錘式破碎機錘頭材質選擇很重要,性較好的有高雙合金復合錘頭,其使用壽命可達到不同件錘頭產品使用壽命的五倍以上,而且設備的破碎效率可以提高30%以上。雙合金復合錘頭其主要特征是采用兩種合金液液復合,鑄造工藝為離心式壓力鑄造,避免了鑲嵌式易脫落、不的毛病,已在上百家水泥、礦山企業使用,深受客戶好評。錘頭部分采用高硬度高性合金鋼,硬度可達HRC62-65,錘柄部分采用高韌性的錳鋼材料,因為兩種合金是冶金液液復合,所以不用擔心會脫落。解決了單一合金材料硬度高容易斷、韌性好不的缺點。從而大大提高單段式錘破錘頭的使用壽命和工作效率。高雙合金復合錘頭廣泛用于焦碳、煤炭、煤矸石、冶金、玻璃、礦山礦石、水泥廠石灰石、熟料、磚廠葉巖等多種破碎行業!是大型單段錘式破碎機更顯示它的優越性。

單段式錘破設備四大突出優勢
1、大進料、細出料
我們的單段錘破可一次性破碎直徑1200mm物料至75mm以下。
2、出料粒度可調
該款單段錘式破碎機出料口篦板縫隙可調,方便控制出料粒度。
3、“石打石” 腔型改造
設備處理物料自破比增加,了破碎機錘頭、篦板磨損負荷。
4、獨自成線 簡化生產
該款單段式錘破即可將礦山開采出來的原料一次破碎達到入磨要求。
單段錘式破碎機性能特點
1、增強型轉子:際的有限元分析技術對單段式錘破轉子關鍵部位進行優化設計,使其更加;
2、采用級的堆焊技術:采用WHM二步法硬表面熔敷技術,比常規焊條堆焊壽命提高2倍以上;
3、石打石破碎腔型改造:石打石破碎腔型改造使得物料自破比例大大增加,單段錘破錘頭、篦板磨損負荷;
4、新篦板縫優化設計:這種設計特點,使得單段錘式破碎機設備出料順暢,粒度細、均勻、穩定、篦板壽命更長。

單段式錘破設備安操作注意四點
1、破碎機要在空負荷的情況下啟動。出料的皮帶輸送機需要和板式喂料機聯鎖,不能和破碎機聯鎖。如果皮帶輸送機出現故障,那么板喂機就停機,破碎機則繼續保持運轉,待機體內部物料的破碎工作結束才可以停機。
2、破碎機在開機前都要檢查內部和外部的旋轉部件的擋板螺栓、緊固螺栓、緊環螺栓是否出現松動,若有,則維修,破碎機內部的襯板螺栓須每星期檢查一次。
3、破碎機給料要均勻,一般使用振動給料機進行喂料,不得讓金屬異物等進入破碎機,開機人員若看到電流表負荷過大或者異物撞擊的聲音,要停機,等破碎機完停止后立即排除異物,檢查各轉動部件是否有損壞現象,確認正常后才可繼續開機運轉。
4、破碎機的維修和操作只有經過的培訓,才能開始上崗。工作人員要掌握操作知識,了解機器的原理和構造,還要按照操作說明的規定,機器運轉的安性。
廠家銷售部:18336065555
售后服務部:0373-4222222